山东科学 ›› 2025, Vol. 38 ›› Issue (6): 107-114.doi: 10.3976/j.issn.1002-4026.20240137

• 光纤与光子传感技术 • 上一篇    下一篇

DAS系统中微分交叉相乘与反正切解调算法研究

张峰1(), 蒋宇1, 隋翔2, 乔晓晗2, 尚盈2, 赵文安2, 吕京生2, 王晨2,*()   

  1. 1.中海油服油田技术研究院, 河北 三河 065201
    2.齐鲁工业大学(山东省科学院) 激光研究所, 山东 济南 250353
  • 收稿日期:2024-11-21 修回日期:2025-03-05 出版日期:2025-12-20 上线日期:2025-08-12
  • 通信作者: 王晨 E-mail:zhangfeng25@cosl.com.cn;jgwangchen@163.com
  • 作者简介:张峰(1985—),硕士,工程师,研究方向为仪器仪表工程。E-mail:zhangfeng25@cosl.com.cn

Research on differential cross-multiplying and arctangent demodulation algorithms in DAS systems

ZHANG Feng1(), JIANG Yu1, SUI Xiang2, QIAO Xiaohan2, SHANG Ying2, ZHAO Wen'an2, LÜ Jingsheng2, WANG Chen2,*()   

  1. 1. China Oilfield Services Limited, Sanhe 065201, China
    2. Laser Research Institute, Qilu University of Technology (Shandong Academy of Sciences), Jinan 250353, China
  • Received:2024-11-21 Revised:2025-03-05 Published:2025-12-20 Online:2025-08-12
  • Contact: WANG Chen E-mail:zhangfeng25@cosl.com.cn;jgwangchen@163.com

摘要:

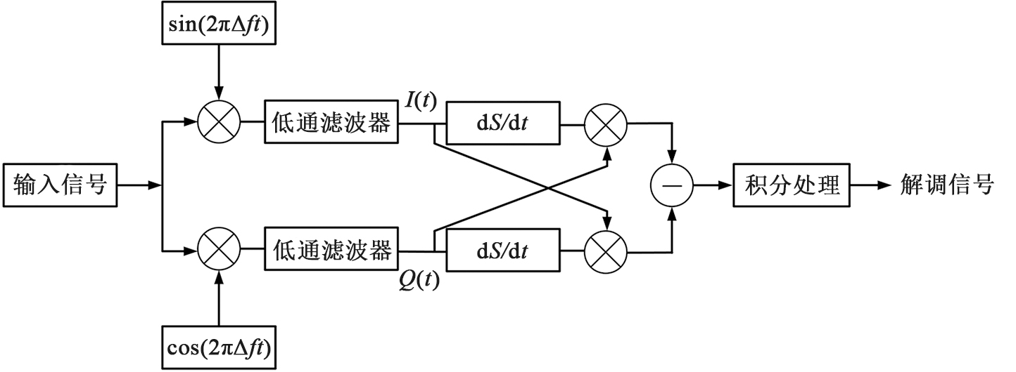
基于相干光时域反射计(coherent optical time-domain reflectometry, COTDR)的分布式声波传感(distributed acoustic sensing, DAS)系统,通过对光纤中后向瑞利散射光信号的相位信息进行解调,可以获取沿光纤长度方向的振动信息。相位解调算法是DAS系统进行相位提取的关键技术,不同的解调算法对解调结果有不同的影响。针对微分交叉相乘(differential cross-multiplying,DCM)和反正切(Arctan)两种同相正交(in-phase quadrature, IQ)解调算法对解调结果的影响进行了研究探讨,首先对DCM算法和Arctan算法进行了理论分析与数值仿真,随后通过搭建基于COTDR的DAS系统采集数据,分别使用两种算法进行处理并对比分析。实验结果表明,两种算法得到的解调信号峰值相差0.04 rad,且存在0.01 rad的相移。此外,基于两种算法不同的特性,对两种算法的使用场景提出了建议。

关键词: 光纤传感器, 分布式光纤传感, 分布式声波传感, 相干光时域反射计, 相位解调, 振动传感

Abstract:

Distributed acoustic sensing (DAS) systems based on coherent optical time-domain reflectometry (COTDR) can obtain vibration information along the fiber length by demodulating the phase information from the backscattered Rayleigh signal in optical fibers. The phase demodulation algorithm is a key technology for phase extraction in DAS systems, and different algorithms exert varying effects on the demodulation results.This study investigates the impacts of two in-phase quadrature (IQ) demodulation algorithms, i.e.,differential cross-multiplying (DCM) and arctangent (Arctan), on the demodulation results. First, a theoretical analysis and numerical simulations based on DCM and Arctan are conducted. Subsequently, a COTDR-based DAS system is constructed to collect data, which are processed and analyzed using both algorithms. Experimental results indicate that the peak values of the demodulated signals obtained using the two algorithms differ by 0.04 rad, with an observed phase shift of 0.01 rad. In addition, based on the different characteristics of the two algorithms, recommendations for their application scenarios are provided.

Key words: optical fiber sensor, distributed optical fiber sensing, distributed acoustic sensing, coherent optical time-domain reflectometry, phase demodulation, vibration sensing

中图分类号: 

  • TP212

开放获取 本文遵循知识共享-署名-非商业性4.0国际许可协议(CC BY-NC 4.0),允许第三方对本刊发表的论文自由共享(即在任何媒介以任何形式复制、发行原文)、演绎(即修改、转换或以原文为基础进行创作),必须给出适当的署名,提供指向本文许可协议的链接,同时表明是否对原文作了修改,不得将本文用于商业目的。CC BY-NC 4.0许可协议详情请访问 https://creativecommons.org/licenses/by-nc/4.0